码迷,mamicode.com
首页 > 其他好文 > 详细

亿级请求下多级缓存那些事

时间:2018-01-10 11:39:50      阅读:124      评论:0      收藏:0      [点我收藏+]

标签:响应时间   修复   很多   过期   线程   带宽   utc   场景   增量   

本文转自:中生代技术

 

什么是多级缓存

 

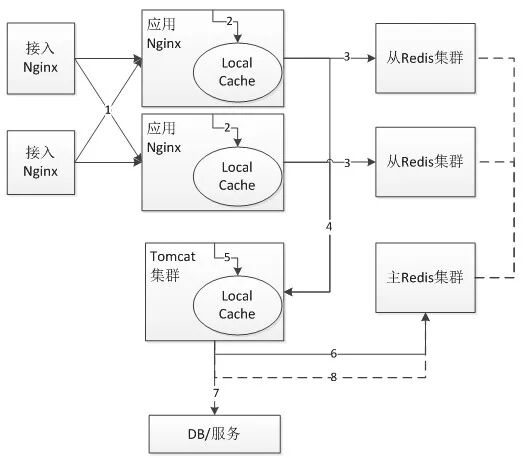
所谓多级缓存,即在整个系统架构的不同系统层级进行数据缓存,以提升访问效率,这也是应用最广的方案之一。我们应用的整体架构如图1所示:

 

技术分享图片

图1 多级缓存方案

 

整体流程如上图所示:

1)首先接入Nginx将请求负载均衡到应用Nginx,此处常用的负载均衡算法是轮询或者一致性哈希,轮询可以使服务器的请求更加均衡,而一致性哈希可以提升应用Nginx的缓存命中率,相对于轮询,一致性哈希会存在单机热点问题,一种解决办法是热点直接推送到接入层Nginx,一种办法是设置一个阀值,当超过阀值,改为轮询算法。

 

2)接着应用Nginx读取本地缓存(本地缓存可以使用Lua Shared Dict、Nginx Proxy Cache(磁盘/内存)、Local Redis实现),如果本地缓存命中则直接返回,使用应用Nginx本地缓存可以提升整体的吞吐量,降低后端的压力,尤其应对热点问题非常有效。

 

3)如果Nginx本地缓存没命中,则会读取相应的分布式缓存(如Redis缓存,另外可以考虑使用主从架构来提升性能和吞吐量),如果分布式缓存命中则直接返回相应数据(并回写到Nginx本地缓存)。

 

4)如果分布式缓存也没有命中,则会回源到Tomcat集群,在回源到Tomcat集群时也可以使用轮询和一致性哈希作为负载均衡算法。

 

5)在Tomcat应用中,首先读取本地堆缓存,如果有则直接返回(并会写到主Redis集群),为什么要加一层本地堆缓存将在缓存崩溃与快速修复部分细聊。

 

6)作为可选部分,如果步骤4没有命中可以再尝试一次读主Redis集群操作。目的是防止当从有问题时的流量冲击。

 

7)如果所有缓存都没有命中只能查询DB或相关服务获取相关数据并返回。

 

8)步骤7返回的数据异步写到主Redis集群,此处可能多个Tomcat实例同时写主Redis集群,可能造成数据错乱,如何解决该问题将在更新缓存与原子性部分细聊。

 

应用整体分了三部分缓存:应用Nginx本地缓存、分布式缓存、Tomcat堆缓存,每一层缓存都用来解决相关的问题,如应用Nginx本地缓存用来解决热点缓存问题,分布式缓存用来减少访问回源率、Tomcat堆缓存用于防止相关缓存失效/崩溃之后的冲击。

 

虽然就是加缓存,但是怎么加,怎么用细想下来还是有很多问题需要权衡和考量的,接下来部分我们就详细来讨论一些缓存相关的问题。

 

如何缓存数据

接下来部将从缓存过期、维度化缓存、增量缓存、大Value缓存、热点缓存几个方面来详细介绍如何缓存数据。

 

过期与不过期

对于缓存的数据我们可以考虑不过期缓存和带过期时间缓存,什么场景应该选择哪种模式需要根据业务和数据量等因素来决定。

 

不过期缓存场景一般思路如图2所示:
技术分享图片

图2不过期缓存方案

 

使用Cache-Aside模式,首先写数据库,如果成功,则写缓存。这种场景下存在事务成功、缓存写失败但无法回滚事务的情况。另外,不要把写缓存放在事务中,尤其写分布式缓存,因为网络抖动可能导致写缓存响应时间很慢,引起数据库事务阻塞。如果对缓存数据一致性要求不是那么高,数据量也不是很大,则可以考虑定期全量同步缓存。

 

也有提到如下思路:先删缓存,然后执行数据库事务;不过这种操作对于如商品这种查询非常频繁的业务不适用,因为在你删缓存的同时,已经有另一个系统来读缓存了,此时事务还没有提交。当然对于如用户维度的业务是可以考虑的。

 

不过为了更好地解决以上多个事务的问题,可以考虑使用订阅数据库日志的架构,如使用canal订阅mysql的binlog实现缓存同步。

 

对于长尾访问的数据、大多数数据访问频率都很高的场景、缓存空间足够都可以考虑不过期缓存,比如用户、分类、商品、价格、订单等,当缓存满了可以考虑LRU机制驱逐老的缓存数据。

 

1. 过期缓存机制

即采用懒加载,一般用于缓存别的系统的数据(无法订阅变更消息、或者成本很高)、缓存空间有限、低频热点缓存等场景;常见步骤是:首先读取缓存如果不命中则查询数据,然后异步写入缓存并过期缓存,设置过期时间,下次读取将命中缓存。热点数据经常使用即在应用系统上缓存比较短的时间。这种缓存可能存在一段时间的数据不一致情况,需要根据场景来决定如何设置过期时间。如库存数据可以在前端应用上缓存几秒钟,短时间的不一致时可以忍受的。

 

2.   维度化缓存与增量缓存

对于电商系统,一个商品可能拆成如基础属性、图片列表、上下架、规格参数、商品介绍等;如果商品变更了要把这些数据都更新一遍那么整个更新成本很高:接口调用量和带宽;因此最好将数据进行维度化并增量更新(只更新变的部分)。尤其如上下架这种只是一个状态变更,但是每天频繁调用的,维度化后能减少服务很大的压力。

技术分享图片

图3 维度化缓存方案

按照不同维度接收MQ进行更新。

 

3.   大Value 缓存

要警惕缓存中的大Value,尤其是使用Redis时。遇到这种情况时可以考虑使用多线程实现的缓存,如Memcached,来缓存大Value;或者对Value进行压缩;或者将Value拆分为多个小Value,客户端再进行查询、聚合。

 

4.   热点缓存

对于那些访问非常频繁的热点缓存,如果每次都去远程缓存系统中获取,可能会因为访问量太大导致远程缓存系统请求过多、负载过高或者带宽过高等问题,最终可能导致缓存响应慢,使客户端请求超时。一种解决方案是通过挂更多的从缓存,客户端通过负载均衡机制读取从缓存系统数据。不过也可以在客户端所在的应用/ 代理层本地存储一份,从而避免访问远程缓存,即使像库存这种数据,在有些应用系统中也可以进行几秒钟的本地缓存,从而降低远程系统的压力。

亿级请求下多级缓存那些事

标签:响应时间   修复   很多   过期   线程   带宽   utc   场景   增量   

原文地址:https://www.cnblogs.com/flying607/p/8257035.html

(0)
(0)
   
举报
评论 一句话评论(0
登录后才能评论!
© 2014 mamicode.com 版权所有  联系我们:gaon5@hotmail.com
迷上了代码!